Evtd Ulasan 2
Tambahkan komentar
Paparan
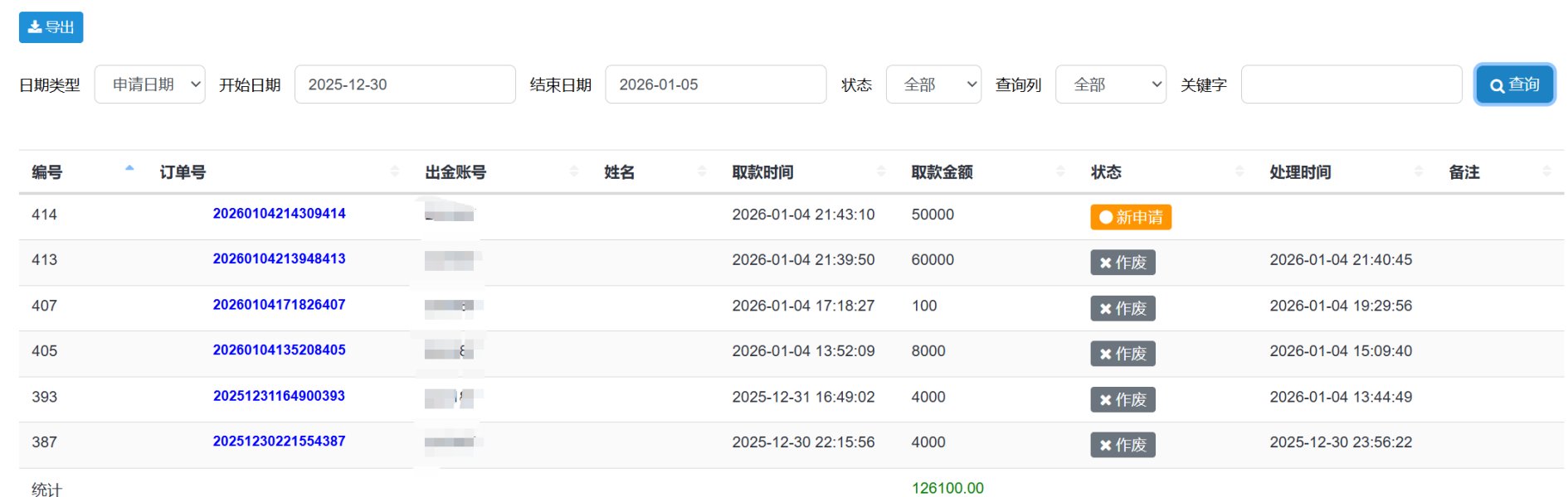
Tidak dapat menarik dana Secara sepihak membatalkan penarikan Tanpa alasan yang jelasPialang ini adalah operasi penipuan. Mereka secara sewenang-wenang memanipulasi data, menahan pokok dan keuntungan, serta menipu klien dengan pajak keuntungan modal tambahan.

FX6497996132
01-05
Paparan
Platform ini tidak mengizinkan penarikan dana dan mengenakan biaya pajak tambahan sebesar 20% di atas setoran.Platform ini tidak mengizinkan penarikan dana dan mengenakan biaya pajak tambahan sebesar 20% di atas setoran.

FX6497996132
01-03